


제품 특징
• 모델명: WFD-65FA
• 일체형 전자유량계
• 배관 사이즈: 65A
• Flange DINPN16
• 몸체 및 flange 재질: Carbon Steel
• 라이닝: PTFE
• 전극: SUS316L
• 압력: ≤16bar
• 주변 온도: -25~60℃
• 출력: 4-20mA, RS485 modbus
제품 기능
• WFD-F 유량계는 전자유량계로 일반적으로 가장 범용적으로 사용되는 유량계입니다.
• 유체 밀도, 점도, 온도, 압력에 관계없이 뛰어난 정확도를 유지합니다.
• 측정을 위해 유체의 흐름을 방해하는 구조물이 없습니다.
• WFD-F 유량계의 관경은 10A ~ 3000A 입니다. 측정 유체에 따른 다양한 센서 라이닝 및 전극 재질 옵션이 있습니다.
• WFD-F 유량계는 저전력 소비로 설계된 제품입니다.
• WFD-F 유량계는 안정적인 영점 및 높은 정확도를 갖췄습니다. 넓은 범위의 측정도 안정적으로 제공합니다.
• WFD-F 유량계는 일체형과 분리형 두가지로 사용할 수 있습니다.
• WFD-F 유량계는 16비트 고성능 마이크로프로세서를 사용하여 안정적이고
빠른 측정 데이터를 제공합니다.
• WFD-F 유량계는 2x16 LCD 디스플레이를 채용하여
사용자 가독성을 높였습니다.
• WFD-F 유량계는 보다 간단한 설정과 빠른 설정으로 사용자
편의성을 높였습니다.
• WFD-F 유량계는 순방향, 역방향 및 양방향 유량 측정을 지원합니다.
• WFD-F 유량계는 전류출력, 펄스출력, 디지털통신 출력(HART)
등 다양한 출력을 제공합니다.
• WFD-F 유량계는 자가 진단 기능을 갖추고 있습니다.
• WFD-F 유량계는 액체 및 슬러리(슬러지)의 유량을 측정하는 데 사용됩니다.
• WFD-F 유량계는 화학, 전력, 야금, 석유, 상하수도, 제지 등에 적합합니다.
측정가능한 유체 조건
측정 대상 유체는 전도성여야 합니다.
적절한 압력 수준, 라이닝 재질, 전극 재질은 측정 대상 유체의 특성에 따라 선택해야 합니다.
성능 파라미터 (Performance Parameters)
정확도 곡선 (Accuracy Curve)

15A ~ 600A 정확한 곡선 700A ~ 2600A 정확한 곡선
D15A ~ 600A정확도 곡선 분석 (Accuracy Curve)
안정 측정 구간
(0.5%): 유속이 0.3m/s에서 15m/s 사이일
때, 측정 오차는 0.5% 이내로 유지됩니다.
저유속 구간 오차:
유속이 0.3m/s 미만으로 떨어지면 정확도(Accuracy
%) 수치가 급격히 상승하며 오차가 커집니다.
측정 범위: 해당 유량계의 유량 범위비(Flow range)는 최대 15m/s 가능합니다.
700A ~ 2600A 정확도 곡선 분석 (Accuracy Curve)
측정 정확도 기준:
해당 대구경 유량계는 유속이 0.8m/s에서 15m/s 사이인
구간에서 0.5% 이내의 정확도를 유지합니다.
저유속 구간의 한계: 유속이 0.8m/s 미만으로 떨어질 경우, 그래프에서 보이듯이 오차(Accuracy %)가 급격히 증가하여
측정 신뢰도가 떨어집니다.
최대 측정 유속: 본 시스템이 보장하는 최대 측정 유속은 15m/s입니다.
적용 분야
• 정수장 및 하수처리장
• 산업 폐수 처리 시설
• 냉각수 및 공정수 관리
• 화학 · 식품 · 제약 공정
• 농업용수 및 관개 시스템
• 보일러 급수 및 배관 라인
라이닝 선택시 참고 사항
|
라이닝 재질
|
주요 성능
|
적용 범위
|
Chemigum Rubber
(CR)
|
1. 뛰어난 탄성, 우수한 내마모성.
2. 가장 많이 사용되는 범용 라이닝.
|
1. <60℃
2. 일반 용수, 하수
|
Polyurethane Rubber
(PR)
|
1. 우수한 내마모성 (천연 고무의 10배에 해당)
|
1. <80℃
2. 펄프, 진흙 등의 슬러리
|
Polytetrafluoroe thylene
(PTFE)
|
1. 화학적으로 가장 안정적인 소재
2. 위생 및 식품산업에 사용되는 제품
|
1. <120℃
2. 화학산업, 위생 및 식품산업
|
Polyfluoroalkoxy
(PFA)
|
1. 화학적 성질은 PTEF와 동일
2. 위생 및 식품산업에 사용되는 제품
|
1. <120℃
2. 화학산업, 위생 및 식품산업
3. 50A 이하 |
전극 선택시 참고 사항
|
전극 재질
|
내식성
|
Stainess Steel 316L
(316L)
|
가장 널리 사용되는 범용 전극
|
Tungsten carbide
(WC)
|
펄프, 진흙, 광물 슬러리 등과 같이 부식성이 낮으면서 마모성이 매우 높은 매체에 사용됩니다.
|
Hastelloy B
(HB)
|
이 소재는 끓는점 이하의 모든 농도의 염산에 대해 우수한 내식성을 가지며, 황산, 인산, 불산, 유기산과 같은 비산화성 산, 알칼리 및 비산화성 염 용액에 의한 부식에도 강합니다.
|
Hastelloy C
(HC)
|
이 소재는 질산, 혼합산, 크롬산과 황산의 혼합 용액과 같은 산화성 산에 의한 부식에 강하며, Fe2+,
Cu2+ 또는 기타 산화제와 같은 산화성 염에 의한 부식에도 강합니다. 예를 들어, 상온 이상의 온도에서 차아염소산나트륨 용액이나 해수에 의한 부식에도 강합니다.
|
Titanium (Ti)
|
바닷물(해수), 각종 염화물 및 차아염소산염, 산화성 산(발연 질산 포함), 유기산, 알칼리
등에 대해 우수한 내식성을 가집니다. 다만, 염산, 황산, 인산과 같은 순수 환원성 산에 대해서는 부식에 취약할
수 있습니다.
|
Tantalum (Tan)
|
유리와 유사한 화학적 안정성을 가진 소재로, 거의
모든 화학 매체에 대해 내식성이 매우 뛰어납니다. 불산, 발연
황산, 알칼리를 제외한 거의 모든 산성 매체(염산, 황산, 질산, 왕수
등)에 사용할 수 있는 최고급 내식 전극입니다.
|
Platinum-iridium alloy (Pt)
|
사실상 모든 산, 알칼리 및 염 용액에
대해 완벽에 가까운 내식성을 제공합니다. 가장 안정적인 재질이지만 가격이 매우 고가이므로, 다른 재질로는 도저히 견딜 수 없는 특수한 화학 공정이나 고도의 정밀도가 필요한 경우에 한해 선택적으로
사용됩니다. |
참고 :
1. 유체의 종류가 다양하고 부식성은 온도, 농도, 유속 등 복잡한 요인의 영향을 받기 때문에 위의 두 표는 참고용으로만 사용하십시오.
2. 사용자는 실제 조건에 따라 적절한 유체를 선택해야 하며, 필요한 경우 제이비인스트루먼트 (02-896-7866) 로 연락바랍니다. .
배관 크기 선택시 참고사항
1. 일반적으로 계측기 관경은 공정 배관과 동일하게 선택합니다.
2. 권장 유량 범위는 1 ~ 5 m/s입니다.
3. 유량이 너무 작은 경우, 현재 배관 관경보다 작은 센서를 선택하여 유량을 증가시켜 정확도를 높일 수 있습니다.
4. 유량 Q(m³/h)를 알고 있는 경우, 해당 직경에서 유량 1m/s에 해당하는 유량 Q를 표에서 찾으면, 해당 유량 V=Q/Q(m/s)로 계산할 수 있습니다.
제품 사양
|
타입
|
일체형/ 분리형(표준 10m 케이블)
| |
광경 사이즈
|
15A - 2600A
| |
정확도
|
15A - 600A
|
±0.5% 유속 ≥ 0.3m/s
|
700A - 2600A
|
±0.5% 유속 ≥ 0.8m/s
| |
최대 유속
|
15 m/s
| |
액체 전기전도도
|
≥ 20 μS/cm
| |
전원 공급
|
85-265VAC / 12-36VDC
| |
전류출력
|
4-20mA
| |
펄스출력
|
Pulse
| |
통신출력
|
RS485 Modbus / HART
| |
전극 재질
|
SS316L / HB
/ HC / TI / TA / PT / WC
| |
라이닝 재질
|
CR / PR / PTFE / PFA
| |
몸체 및 Flange재질
|
Carbon Steel/ SS304/ SS316
| |
압력
|
15A - 150A
|
4MPa
|
15A – 600A
|
1.6MPa
| |
200A – 1000A
|
1.0MPa
| |
700A -
|
0.6MPa
| |
주변 온도
|
-25 ~ 60℃
| |
Flange 표준
|
JIS / DIN / ANSI150#
| |
보호 등급
|
일체형:IP65
분리형:IP68 | |
오더링 코드
|
WFD-F
|
사양
| ||||||||
크기
|
15A
|
15mm
| |||||||
50A
|
50mm
| ||||||||
XXA
|
XXmm
| ||||||||
형태
|
S
|
Integrated type
| |||||||
L
|
Remote type with 10m cable
| ||||||||
전극 재질
|
M
|
SS316L
| |||||||
B
|
HB
| ||||||||
H
|
HC
| ||||||||
T
|
TI
| ||||||||
D
|
TAN
| ||||||||
O
|
PT
| ||||||||
W
|
WC
| ||||||||
라이닝 재질
|
X
|
CR
| |||||||
F
|
PTFE
| ||||||||
P
|
PR
| ||||||||
A
|
PFA
| ||||||||
출력
|
1
|
4-20mA / Pulse / RS485 modbus
| |||||||
2
|
4-20mA / Pulse / HART
| ||||||||
전원
|
0
|
85 - 265VAC
| |||||||
1
|
12 - 36VDC
| ||||||||
Flange 표준 및 압력
|
DXX
|
D16 : DIN PN16 flange
D25 : DIN PN25 flange
| |||||||
AXX
|
A15 : ANSI150# flange
A30 : ANSI300# flange
| ||||||||
JXX
|
J10 : JIS10K flange
J20 : JIS20K flange
| ||||||||
XXX
|
Customized
| ||||||||
Body 및 Flange 재질
|
CS
|
Carbon Steel
| |||||||
S4
|
Stainless Steel 304
| ||||||||
S6
|
Stainless Steel 316 | ||||||||
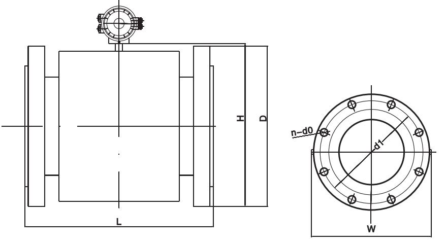
제품 크기

15A ~ 150A 1.6MPa 4.0MPa 센서 및 적산계(일체형) 외형 치수
치수 및 무게 (Dimensions and weight) 플랜지 표준: A

200A ~ 600A 1.0MPa 1.6MPa 센서 및 적산계(일체형) 외형 치수
치수 및 무게 (Dimensions and weight) 플랜지 표준: A

700A ~ 2600A 0.6MPa 1.0MPa 센서 및 적산계(일체형) 외형 치수
치수 및 무게 (Dimensions and weight) 플랜지 표준: A
선정 원칙 (Selection Principles)
측정 매체 조건:
측정 유체는 반드시 전도성 액체 또는 슬러리여야 합니다.
또한, 유체에
강자성체(자석에 붙는 물질)나 기포가 너무 많이 포함되어서는
안 됩니다.
측정 유체의 특성에 따라 적절한 압력 등급, 라이닝 재질, 전극 재질 및 기기 구조를 선택해야 합니다.
배관 크기 선정 (Pipe Size Selection)
일반적인 선택: 전자식
유량계는 1500:1의 넓은 측정 범위를 가지므로, 통상적으로
공정 배관과 동일한 직경의 기기를 선택합니다.
고체 입자 포함 시: 측정 매체에 고체 입자가 포함된 경우, 권장 유속 범위는 1~3m/s입니다. 만약 실제 유속이 너무 빠르고 유속 변경이 어렵다면, 유량계 직경을 공정 배관보다 크게 선택하여 유속을 적절히 낮출 수 있습니다.
침전물 발생 가능 시: 공정 배관 내에 침전물이 생길 가능성이 있다면, 권장 유속은 2~5m/s입니다. 실제 유속이 너무 느리고 배관 변경이 어렵다면, 유량계 직경을 공정 배관보다 작게 선택하여 유속을 높일 수 있습니다.
저유속 정밀 측정:
유속이 너무 작지만 고정밀 측정이 필요한 경우, 공정 배관보다 작은 센서를 선택하여 유속을
높임으로써 더 높은 정확도를 확보할 수 있습니다.
레듀셔(Reducer)
설치: 위 2, 3, 4번의 경우와 같이 배관
크기가 달라질 때는 유량계 전단과 후단에 레듀셔(축소관/확대관)를 설치해야 합니다.
이때 레듀셔의 중심 원뿔 각도는 15° 이하여야 하며, 레듀셔 전단에는 공정 배관 직경의 최소 5배(5D) 이상의 직관부를 확보해야 합니다.
유속 계산 방법:
유량 값 Q (m^3/h)를 알고 있다면, 표에서
해당 직경의 유속 1m/s에 해당하는 유량값 Q_1을 찾아
다음과 같이 유속 V를 계산합니다: V = Q/Q_1(m/s).


추가 옵션 #1 : Gasket

① Gasket : EPDM
② Gasket : EPDM + PTFE Coating
③ Gasket : PTFE
※ 이미지 안내: 제품 이미지는 참고용으로 주문 옵션에 따라 실물과 차이가 있을 수 있습니다.
추가 옵션 #2 : Grounding Ring

① Grounding Ring (RF Type) : STS304, 3t
② Grounding Ring (FF Type) : Titanium, 3t
※ 이미지 안내: 제품 이미지는 참고용으로 주문 옵션에 따라 실물과 차이가 있을 수 있습니다.
추가 옵션 #3 : 온도센서

표면부착형 온도센서(PT1000) : 1.5ØX4Y, Cable
5,000mm
※ Ø는 지름(Diameter)을 나타내는 기호로 사용됩니다.
※ 이미지 안내: 제품 이미지는 참고용으로 주문 옵션에 따라 실물과 차이가 있을 수 있습니다.
※ 설치 제한: 표면 부착형 센서는 독립 보온 배관 전용입니다. (동파 방지 히터 혼용 배관이나 다중 보온 배관에는 설치 불가)
어떤 라이닝과 전극을 골라야 할지 고민되시나요?
유체의 종류와 농도에 따른 내식성 등급을 한눈에 확인해 보세요.
제품의 수명과 정밀도를 결정하는 가장 중요한 단계입니다.
A = 연간 0.002인치
이하 수식
B = 연간 0.02인치
이하 수식
C = 연간 0.05인치 이하 수식
|
구분 |
유체명 (Korean / English) |
농도 |
라이닝 (PTFE / Neoprene / ETFE / PFA / poly U) |
전극 (316SS / Titanium / Hastelloy C / Tantalum) |
|
산성 |
염산 (Hydrochloric Acid) |
20% |
PTFE/ETFE/PFA: 가능 / Neo: 가능 / poly U: 가능 |
316SS/Ti: 불가 / Has-C: A / Ta: A |
|
염산 (Hydrochloric Acid) |
40% |
PTFE/ETFE/PFA: 가능 /Neo: 정보없음 / poly U: 정보없음 |
316SS/Ti: 불가 / Has-C: A /Ta: A | |
|
질산 (Nitric Acid) |
50% |
PTFE/ETFE/PFA: 가능 / Neo: 불가 /
poly U: 불가 |
316SS: A / Ti: A / Has-C: A / Ta: A | |
|
질산 (Nitric Acid) |
70% |
PTFE/ETFE/PFA: 가능 / Neo: 불가 / poly U: 불가 |
316SS: A / Ti: A / Has-C: A / Ta: A | |
|
황산 (Sulfuric Acid) |
50% |
PTFE/ETFE/PFA: 가능 / Neo: 가능 / poly U: 불가 |
316SS: 불가 / Ti: 불가 / Has-C: A / Ta: A | |
|
황산 (Sulfuric Acid) |
98% |
PTFE/ETFE/PFA: 가능 / Neo: 불가 / poly U: 불가 |
316SS: B / Ti: 불가 / Has-C: A / Ta: B | |
|
탄산 (Carbonic Acid) |
100% |
PTFE/ETFE/PFA: 가능 / Neo: 가능 / poly U: 정보없음 |
316SS: B / Ti: A / Has-C: B / Ta: A | |
|
아세트산/초산 (Acetic Acid) |
75% |
PTFE/ETFE/PFA: 가능/ Neo: 가능
/ poly U: 정보없음 |
316SS: 불가 / Ti: A / Has-C: A / Ta: A | |
|
시트르산 (Citric Acid) |
50% |
PTFE/ETFE/PFA: 가능 / Neo: 가능 / poly U: 불가 |
316SS: B / Ti: A / Has-C: A / Ta: A | |
|
불화수소산 (Hydrofluoric Acid) |
70% |
PTFE/ETFE/PFA: 가능 / Neo: 가능 / poly U: 불가 |
316SS/Ti/Has-C/Ta: 모두 불가 | |
|
중성 |
물 (Water - Clean or Dirty) |
100% |
PTFE/Neo/PFA/poly U: 가능 / ETFE: 정보없음 |
316SS: A / Ti: A / Has-C: A / Ta: A |
|
해수 (Water Sea) |
100% |
전 라이닝 가능 |
316SS: 불가 / Ti: A / Has-C: A / Ta: A | |
|
하수처리 (Water Sewage) |
100% |
PTFE/Neo/ETFE/PFA: 가능 / poly U: 정보없음 |
316SS: B /
Ti: A /
Has-C: 정보없음 /
Ta: A | |
|
활성/농축/폐 슬러지 (Sludge) |
100% |
PTFE/Neo/PFA/poly U: 가능 / ETFE: 정보없음 |
316SS: A / Ti: A / Has-C: A / Ta: A | |
|
염기성 |
암모니아 (Ammonia) |
100% |
전 라이닝 가능 |
316SS: A / Ti: A / Has-C: A / Ta: A |
|
염화나트륨 (Sodium Chloride) |
30% |
PTFE/Neo/PFA: 가능 / ETFE/poly U: 정보없음 |
316SS: B /
Ti: A /
Has-C: B /
Ta: A | |
|
수산화나트륨 (Sodium Hydroxide) |
25% |
PTFE/ETFE/PFA: 가능 / Neo/poly U: 불가 |
316SS/Ti: 불가 / Has-C: A / Ta: A | |
|
수산화나트륨 (Sodium Hydroxide) |
50% |
전 라이닝 가능 |
316SS: A / Ti: A / Has-C: A / Ta: 불가 | |
|
탄산 나트륨 (Sodium Carbonate) |
20% |
PTFE/PFA: 가능 /
Neo/ETFE/poly U: 정보없음 |
316SS: A / Ti: A / Has-C: A / Ta: A | |
|
탄산 나트륨 (Sodium Carbonate) |
100% |
PTFE/Neo/ETFE/PFA: 가능 / poly U: 정보없음 |
316SS: B / Ti: A / Has-C: B / Ta: 정보없음 | |
|
염화칼슘 (Calcium Chloride) |
50% |
전 라이닝 가능 |
316SS: 불가 / Ti: A / Has-C: A / Ta: A | |
|
염화칼슘 (Calcium Chloride) |
Sat |
전 라이닝 가능 |
316SS: B / Ti: A / Has-C: A / Ta: 정보없음 | |
|
수산화 칼슘 (Calcium Hydroxide) |
25% |
전 라이닝 가능 |
316SS: B / Ti: A / Has-C: A / Ta: A | |
|
수산화 칼슘 (Calcium Hydroxide) |
Sat |
PTFE/Neo/ETFE/PFA: 가능 / poly U: 정보없음 |
316SS: B / Ti: A / Has-C: A / Ta: A | |
|
탄산 칼슘 (Calcium Carbonate) |
100% |
전 라이닝 가능 |
316SS: B3 / Ti: A / Has-C: A / Ta: A | |
|
기타 |
과망가니즈산칼륨 (Potassium Permanganate) |
100% |
ETFE: 가능 /
PTFE/PFA: 불가 / 나머지는 정보없음 |
316SS/Ti: 불가 / Has-C: A / Ta: A |
|
진흙 드릴링 (Mud Drilling) |
100% |
poly U: 가능 /
PTFE/PFA: 불가 / 나머지는 정보없음 |
316SS: A / Ti: A /
Has-C: A /
Ta: A |
현장 설치 사진


만관 상태 유지: 전자식 유량계는 반드시 관 내부에 액체가 가득
찬 만관(Full pipe) 상태에서 작동해야 하며, 관이 채워지지 않았거나 비어 있는 상태에서는 작동할 수 없습니다.
설치 위치 주의: 배관이 액체로 가득 차도록 보장하기 위해, 유량계를 배관의 가장 높은 지점에 설치해서는 안 됩니다.

Upstream / Downstream (상류 / 하류): 유체가 흘러오는 쪽을 상류(전단), 빠져나가는 쪽을 하류(후단)라고 합니다.
Straight pipe (직관부): 엘보(꺾임), T자관, 밸브 등 흐름에 방해가 되는 요소가 없는 직선 구간을 의미합니다.
5D / 2D: 배관의 공칭 직경(D)에 비례한 거리입니다.
예를 들어, 배관 지름이 50mm라면
상류 측에는 최소 250mm(50 \times 5)의 직선 구간이 확보되어야 합니다.
Valves fully opened (밸브 완전 개방): 밸브가 일부만 열려 있으면 불규칙한 와류(소용돌이)가 발생하여 유량계가 유속을 제대로 읽지 못하기 때문에 반드시 완전 개방 상태를 기준으로 합니다.
이 지침을 지키지 않을 경우 유량계의 오차 범위가 커질 수 있으므로, 설계 시 이 직관부 거리를 최우선으로 고려하는 것이 좋습니다.

설치 지침: T자형 배관 (Installation: T-pipe)
직관부 거리 확보: 유량계를 T자형 배관(T-pipe)의 하류에 설치할 때는 T자형 배관으로부터 최소 5D 이상의 직선 파이프 구간(직관부)을 확보해야 합니다.
유체 흐름 방향: 유량계 설치 시 유체의 흐름 방향이 센서에 표시된 화살표 방향과 일치하는지 확인하십시오.
관 지름(D): 여기서 D는 해당 배관의 명목 지름을 의미합니다.

설치 지침: 90° 엘보 (Installation: 90° Elbow)
직관부 거리 확보: 90° 엘보(90° elbow) 하류에 유량계를 설치할 때는 엘보로부터 최소 5D 이상의 직선 파이프 구간(직관부)을 확보해야 합니다.
설치 방향 및 정렬: 액체 흐름 방향이 유량계 센서에 표시된 화살표와 일치하도록 설치해야 합니다.
파이프라인의 축과 유량계의 축이 정확히 일치하도록 대칭으로 설치해야 합니다.
전극 보호: 측정 전극이 기포에 노출되거나 침전물(진흙 등)에 덮이지 않도록 주의하여 설치하십시오.

설치 지침: 확대관/축소관 (Installation: Expander/Reducer)
직관부 거리 확보: 확대관(Expander)의
하류에 유량계를 설치할 때는 해당 장치로부터 최소 10D 이상의 직선 파이프 구간(직관부)을 확보해야 합니다.
유체 흐름 방향: 설치 시 배관 내 유체의 흐름 방향이 유량계
센서에 표시된 화살표 방향과 일치하는지 반드시 확인해야 합니다.
관 지름(D): 10D에서 D는
배관의 명목 지름을 의미하며, 확대관 이후의 직경을 기준으로 합니다.
핵심 요약: 확대관이나 축소관은 유속의 변화와 소용돌이를
유발할 수 있습니다.
따라서 안정적인 유량 측정을 위해 T자관이나 엘보(5D)보다 더 긴 10D 이상의
충분한 직관부 거리가 필요합니다.

설치 지침: 부분 개방된 밸브
(Installation: Partially Opened Valve)
직관부 거리 확보: 부분적으로 개방된 밸브의 하류에 유량계를
설치할 때는 밸브로부터 최소 $10D$ 이상의 직선 파이프 구간(직관부)을 확보해야 합니다.
유체 흐름 방향: 설치 시 액체의 흐름 방향이 센서에 표시된
화살표와 일치하는지 확인해야 합니다.
관 지름(D): 10D에서 D는
해당 배관의 명목 지름을 의미합니다.
핵심 요약 : 밸브가 완전히 열리지 않고 부분적으로만
개방된 경우 유체에 강한 소용돌이와 난류가 발생합니다.
따라서 유량계가 정확한 값을 측정할 수 있도록, 흐름이 안정화될 수 있는 충분한 거리인 10D 이상의 직관부를 반드시 유지해야 합니다.

설치 방향 (Installation direction)
흐름 방향 및 유지보수: 설치 시 액체의 흐름 방향이 센서에
표시된 화살표와 일치하는지 확인하고, 유량계 주변에 충분한 유지보수 공간을 확보해야 합니다.
지지대 설치: 진동, 충격
및 수축으로 인한 응력을 방지하기 위해 유량계 양쪽에 지지대(Supports)를 배치해야 합니다.
전극의 수평 정렬: 전자식 유량계 설치 시, 측정 전극(Measurement electrodes)은 지면과 수평이
되어야 합니다.
수직 설치 시 위험: 전극이 수직으로 놓일 경우, 위쪽 전극 근처에는 기포가 쌓여 접촉을 방해할 수 있고, 아래쪽
전극은 진흙(Mud)이나 불순물에 의해 덮일 수 있습니다.
트랜스미터 위치: 침수를 방지하기 위해 트랜스미터는 파이프라인보다
높은 곳에 설치되어야 합니다.
핵심 요약
이미지에서 강조하는 가장 중요한 포인트는 전극의 배치입니다.
배관 내부에 진흙이나 오니(슬러지)가 쌓일 수 있으므로, 전극이 바닥면으로 향하게 되면 오염물질에 덮여
측정이 불가능해집니다.
따라서 반드시 전극이 양옆(수평)을 향하도록 설치하여 기포와 침전물의 영향을 최소화해야 합니다.
배관 축 정렬 (Flowmeter Installation
Symmetrically with Pipe Axis)
축 정렬 준수: 전자식 유량계를 설치할 때는 배관의 축(pipeline axis)이 유량계 측정관의 축(meter tube axis)과
정확히 일치하도록 해야 합니다.
불일치 시 위험성: 두 축 사이에 각도가 생기거나 정렬이 어긋날
경우, 플랜지(flange) 연결 부위에서 밀봉 실패(누수)가 발생할 수 있으며, 플랜지
용접부에 균열이 생길 수 있습니다.
배관 기울기(Pipe inclination): 유량계가 배관과
나란하지 않고 기울어져 설치된 경우.
배관 미정렬(Pipe misalignment): 유량계와 배관의
중심축이 서로 어긋나 있는 경우.
전문가 팁: 배관과 유량계가 수평/수직으로 정확히 일치하지 않으면 체결 시 볼트에 과도한 응력이 가해집니다.
이는 장기적으로 진동이나 온도 변화에 따른 수축·팽창 시 파손의
직접적인 원인이 되므로, 설치 시 반드시 수평계 등을 이용해 정렬 상태를 확인해야 합니다.

배관 축과 유량계의 대칭 설치 (Flowmeter Installation
Symmetrically with Pipe Axis)
전자식 유량계를 설치할 때는 배관의 중심축과 유량계 측정관의 중심축이 정확하게 일치하도록 정렬해야 합니다.
이를 지키지 않고 축이 어긋난 상태로 설치하면 다음과 같은 심각한 문제가 발생할 수 있습니다.
주의해야 할 잘못된 설치 사례
배관 기울기 (Pipe inclination): 유량계와 연결되는 배관이 나란하지 않고 비스듬하게 각도가 생긴 상태입니다.
배관 불일치/미정렬 (Pipe
misalignment): 유량계와 배관의 중심축이 서로 일치하지 않고 위아래나 좌우로 어긋나 있는 상태입니다.
발생 가능한 물리적 손상
플랜지 밀봉 실패: 두 축 사이에 각도가 생기면 플랜지 면이
완벽하게 밀착되지 않아 누수의 직접적인 원인이 됩니다.
용접부 균열 및 파손: 정렬이 불량한 상태에서 볼트를 강제로
조이면 플랜지 용접 부위에 과도한 응력이 가해져 균열이나 파손이 발생할 수 있습니다.
유지보수 권장 사항: 안정적인 설치를 위해 유량계 양쪽에 지지대(Supports)를 배치하십시오.
이는 진동, 충격 또는 온도 변화에 따른 배관의 수축 및 팽창으로부터
발생하는 응력이 유량계에 전달되는 것을 방지해 줍니다.


설치 및 조립 안내
사전 준비 및 배치 확인 전자 유량계의 플랜지(Flange), 접지
링(Grounding Ring), 가스켓(Gasket) 및
상대 플랜지(Counter Flange)를 순서대로 배치합니다.
이후 설치 위치가 수직 또는 수평으로 적절한지 최종 확인합니다.
가조립 진행 볼트(Bolt), 와셔(Washer), 스프링 와셔(Spring Washer) 및 **너트(Nut)**를 사용하여 조립하되, 처음부터 한 번에 너무 단단하게 조이지 않도록 주의하십시오.
균형 있는 체결 상기 그림에 표시된 순서에 따라 상하/좌우 균형을 맞추어 여러 번에 걸쳐 균등하게 조립을 진행합니다.

측정원리
전자유량계는 패러데이의 전자기 유도 법칙에 따라 작동합니다.
유량계 튜브의 축이 자기장 선에 수직이 되도록 파이프 벽에 한 쌍의 전극이 설치됩니다.
전도성 유체가 파이프 축을 따라 흐르면 자기장 선을 가로지르면서 유도 기전력이 발생하고, 이 기전력이 전극에 의해 감지됩니다.
유도 기전력은 U = K×B×V×D 공식으로 나타낼 수 있습니다.
U: 유도기전력
K: 측정 상수
B: 자속밀도
V: 평균유속
D: 배관경

WFD-65FA, 일체형 전자유량계, 65A, 라이닝 PTFE, 전극 SUS316L
본 자료는 크리에이티브 커먼즈 저작자표시 2.0 대한민국 라이선스에 따라 이용할 수 있습니다.
| 품명 | 전자유량계 |
|---|---|
| 모델명 | WFD-65FA |
| 법에 의한 인증·허가 등을 받았음을 확인할 수 있는 경우 그에 대한 사항 | 상세설명페이지 참고 |
| 제조국 또는 원산지 | 중국 |
| 제조자 | OEM |
| A/S 책임자와 전화번호 또는 소비자상담 관련 전화번호 | 02) 896-7866 |
| 재화 등의 배송방법에 관한 정보 | 상품 상세설명페이지 참고 |
|---|---|
| 주문 이후 예상되는 배송기간 | 상품 상세설명페이지 참고 |
| 제품하자가 아닌 소비자의 단순변심, 착오구매에 따른 청약철회 시 소비자가 부담하는 반품비용 등에 관한 정보 | 배송ㆍ교환ㆍ반품 상세설명페이지 참고 |
| 제품하자가 아닌 소비자의 단순변심, 착오구매에 따른 청약철회가 불가능한 경우 그 구체적 사유와 근거 | 배송ㆍ교환ㆍ반품 상세설명페이지 참고 |
| 재화등의 교환ㆍ반품ㆍ보증 조건 및 품질보증 기준 | 소비자분쟁해결기준(공정거래위원회 고시) 및 관계법령에 따릅니다. |
| 재화등의 A/S 관련 전화번호 | 상품 상세설명페이지 참고 |
| 대금을 환불받기 위한 방법과 환불이 지연될 경우 지연에 따른 배상금을 지급받을 수 있다는 사실 및 배상금 지급의 구체적 조건 및 절차 | 배송ㆍ교환ㆍ반품 상세설명페이지 참고 |
| 소비자피해보상의 처리, 재화등에 대한 불만처리 및 소비자와 사업자 사이의 분쟁처리에 관한 사항 | 소비자분쟁해결기준(공정거래위원회 고시) 및 관계법령에 따릅니다. |
| 거래에 관한 약관의 내용 또는 확인할 수 있는 방법 | 상품 상세설명페이지 및 페이지 하단의 이용약관 링크를 통해 확인할 수 있습니다. |
| 반품사유 | 반품 배송비 부담자 |
|---|---|
| 단순변심 |
고객 부담
최초 배송비를 포함해 왕복 배송비가 발생합니다. 또, 도서/산간지역이거나 설치 상품을 반품하는 경우에는 배송비가 추가될 수 있습니다. |
| 상품의 불량 또는 오배송 | 고객부담 아님 |
| 진행 상태 | 결제완료 | 상품준비중 | 배송지시/배송중/배송완료 |
|---|---|---|---|
| 어떤 상태 | 주문 내역 확인 전 | 상품 발송 준비 중 | 상품이 택배사로 이미 발송 됨 |
| 환불 | 즉시환불 | 구매취소 의사전달 → 발송중지 → 환불 | 반품회수 → 반품상품 확인 → 환불 |
| 결제수단 | 환불시점 | 환불방법 |
|---|---|---|
| 신용카드 | 취소완료 후, 3~5일 내 카드사 승인취소(영업일 기준) | 신용카드 승인취소 |
| 계좌이체 |
실시간 계좌이체 또는 무통장입금 취소완료 후, 입력하신 환불계좌로 1~2일 내 환불금액 입금(영업일 기준) |
계좌입금 |
| 휴대폰 결제 |
당일 구매내역 취소시 취소 완료 후, 6시간 이내 승인취소 전월 구매내역 취소시 취소 완료 후, 1~2일 내 환불계좌로 입금(영업일 기준) |
당일취소 : 휴대폰 결제 승인취소 익월취소 : 계좌입금 |
| 포인트 | 취소 완료 후, 당일 포인트 적립 | 환불 포인트 적립 |
| 상품군 | 취소/반품 불가사유 |
|---|---|
| 의류/잡화/수입명품 | 상품의 택(TAG) 제거/라벨 및 상품 훼손으로 상품의 가치가 현저히 감소된 경우 |
| 계절상품/식품/화장품 | 고객님의 사용, 시간경과, 일부 소비에 의하여 상품의 가치가 현저히 감소한 경우 |
| 가전/설치상품 | 전자제품 특성 상, 정품 스티커가 제거되었거나 설치 또는 사용 이후에 단순변심인 경우, 액정화면이 부착된 상품의 전원을 켠 경우 (상품불량으로 인한 교환/반품은 AS센터의 불량 판정을 받아야 합니다.) |
| 자동차용품 | 상품을 개봉하여 장착한 이후 단순변심의 경우 |
| CD/DVD/GAME/BOOK등 | 복제가 가능한 상품의 포장 등을 훼손한 경우 |
| 내비게이션, OS시리얼이 적힌 PMP | 상품의 시리얼 넘버 유출로 내장된 소프트웨어의 가치가 감소한 경우 |
| 노트북, 테스크탑 PC 등 | 홀로그램 등을 분리, 분실, 훼손하여 상품의 가치가 현저히 감소하여 재판매가 불가할 경우 |
